專門製造,供應和出口磁性浮球開關,工廠位於Taiwan。客戶的滿意度由產品的質量和我們的承諾決定。我們一向專注於製造高品質產品,按時交貨並提供優質的售後服務。我們具有創新精神,配備最先進的生產檢測設備來製造各類產品。歡迎來自全球的批發商,分銷商,採購商,代理商和產品OEM/ODM來函來電垂詢。

磁性浮球開關

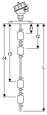
產品規格:
1。開關電壓:250 VAC
2。開關電流:2A
3。聯繫:NO/NC
4。最大.壓力:30公斤/cm²SUS/5千克/cm²PVC,PP,PVDF
5。最大.長度:5 M
6。溫度範圍:120°ÇSUS,PVDF/80°C PP,PVC
7。主體材料:SUS304/SUS316
8。連接:輪緣/線
所有簧片開關採用的是進口原包裝.其特點是操作簡單的原則,性能穩定可靠,工作壽命長,適用範圍廣,各種材料,如SUS,PP,PVC,PVDF等多種連接方法,以滿足不同的需求在各種情況下。
安裝注意事項
1。的凸緣或螺紋的內孔直徑(D)必須是長度比直徑的浮子(四)。
2。波-阻力管,如果需要巨大的液面波動可能發生。
3。請保持遠離進水口安裝過程中。
4。為了避免被雜物卡住。
用戶應該選擇合適的持股量,根據使用溫度,壓力,重力,的測試液體酸和鹼。
1。溫度:
PVC最高溫度為80°C,PP最高溫度為80°C,
聚偏氟乙烯的最高溫度為150°C,
SUS304/316L的最高溫度為200°C.
2。壓力:
塑料浮球最大壓力性5公斤/平方厘米,
SUS304/316L的最大壓力耐40公斤/平方厘米。
3。粘性:
對於粘度的液體,它是更好的選擇大直徑和比重小的浮球隨
克服液體的表面張力。
4。強酸,強鹼液體:
請選擇PP或PVDF,若溫度。高於80°僅適用於C,PVDF
5。酒精和石油等液體:
建議使用不銹鋼SUS。
請選擇食品級SUS316L在食品領域。
6。重力:
浮法重力SG應小於被測液體。
產品展示 產品列表
- 首頁 -> 產品展示 -> 磁性浮子液位開關 : DL101
- 首頁 -> 產品展示 -> Magnetrol公司液位開關 : DL102
- 首頁 -> 產品展示 -> 機械浮球開關 : DL103
- 首頁 -> 產品展示 -> 磁性浮球開關 : DL104
- 首頁 -> 產品展示 -> 磁性浮球開關 : MS-10
- 首頁 -> 產品展示 -> Magnetrol公司液位開關 : MLS-02
- 首頁 -> 產品展示 -> 機械浮球開關 : MLS-03
- 首頁 -> 產品展示 -> 側裝式液位開關 : DW-01 Explosion-Proof
- 首頁 -> 產品展示 -> 側裝浮球開關 : DW-05
- 首頁 -> 產品展示 -> 側裝浮球液位開關 : DW-06
- 首頁 -> 產品展示 -> 磁簧開關 : Side Mounting Float Switch
- 首頁 -> 產品展示 -> 不銹鋼浮球 : SF series
我們的專業知識保證我們優質的
















