เราเป็นทางด้านเทคนิค Taiwan Paddle สวิทช์กระแสประเภท ผู้ผลิตโรงงานผู้ผลิตและส่งออก ทั้งนี้ขึ้นอยู่กับการลงทุนที่มั่นคงความสามารถที่เหนือกว่าและบริการหลังการขายที่ดีเราได้ทำให้เราเป็นหนึ่งในผู้ผลิตชั้นนำและส่งออกในอุตสาหกรรม เราสัญญาว่าผลิตภัณฑ์ที่มีคุณภาพและราคาที่แข่งขันและการส่งมอบตรงเวลาสำหรับคุณ เราได้รับการจัดตั้งธุรกิจในระยะยาวกับลูกค้าของเรา หากคุณสนใจในรูปแบบของผลิตภัณฑ์ของเราใด ๆ โปรดเป็นอิสระในการ ติดต่อเรา.

Paddle สวิทช์กระแสประเภท

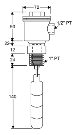
ข้อมูลจำเพาะ:
1Hosing:SUS304
2SUS304/หัวข้อการเชื่อมต่อ 316:1 "PT
3สลับเปลี่ยน:250VAC/60W DC/VA
4แม็กซ์.ความดัน:25 กิโลกรัม/cm²
5ติดต่อเอาท์พุท:SPDT
6ขอบเขตอุณหภูมิ:-20~120°C
7วัสดุ Paddle:SUS301
สวิทช์กระแสที่ได้รับการออกแบบมาเพื่อตรวจสอบการไหลของของเหลวในขนาดท่อจาก DN25 เพื่อ DN200ติดตั้งง่ายและการก่อสร้างขรุขระทำให้มันเป็นอุปกรณ์ที่เหมาะสำหรับการใช้งานทั่วไปในพื้นที่อุตสาหกรรมเครื่องทำความร้อนและเครื่องทำความเย็น.พายเรือจะถูกย้ายไปตามสัดส่วนด้วยความเร็วการไหลของของเหลวตรวจสอบและการเคลื่อนไหวจะถูกส่งโดยอัตโนมัติไปยังสวิทช์ไมโคร.จุดชุดสามารถปรับได้โดยสกรูของกลไกภายในฤดูใบไม้ผลิที่อยู่อาศัยสวิทช์ไมโคร.สวิทช์การไหลเป็นอุปกรณ์ที่มี 3 พายเพื่อให้ครอบคลุมการติดตั้งตั้งแต่วันที่ 1/2 "ถึง 1"
สอบถามข้อมูลในตอนนี้ +สอบถามข้อมูลในตอนนี้ -
ผลิตภัณฑ์ รายการ
- บ้าน -> ผลิตภัณฑ์ -> ควบคุมการไหลของ : FC-600
- บ้าน -> ผลิตภัณฑ์ -> Paddle วัดการไหลของล้อ : PWFM
- บ้าน -> ผลิตภัณฑ์ -> สวิทช์กระแส Paddle : DFB
- บ้าน -> ผลิตภัณฑ์ -> Paddle สวิทช์กระแสประเภท : DFS
- บ้าน -> ผลิตภัณฑ์ -> สวิทช์กระแส Paddle : DFA
- บ้าน -> ผลิตภัณฑ์ -> Paddle สวิทช์กระแสประเภท : DFX
- บ้าน -> ผลิตภัณฑ์ -> มิเตอร์วัดกระแสดิจิตอล : DFM
- บ้าน -> ผลิตภัณฑ์ -> สวิทช์กระแส : FSX
- บ้าน -> ผลิตภัณฑ์ -> เปลี่ยนการไหลของน้ำ : FSX
- บ้าน -> ผลิตภัณฑ์ -> คอมเพรสเซอร์ไหล : FGA
- บ้าน -> ผลิตภัณฑ์ -> สายตาไหล : FGB
ความเชี่ยวชาญของเราได้ช่วยให้เราเพื่อให้แน่ใจว่าดีที่สุด
















