
Boias mecânicas

Especificações:
1.Switching Power:70W
2.Comutação Vlots:240V/200VDC
3.Corrente de comutação:0,7Amp
4.Max.Pressão:10 kg/cm²
5.Flutuar S.G: 0,7 g/cm³
6.Faixa de temperatura:-20~120°C
7.Material:SUS304
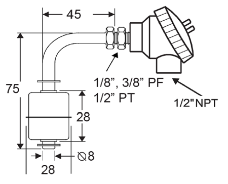
8.Rosca de conexão: 1/2 "PT/ 1/2 "PF (personalizado)
9.Combinação de nível e sensores de temperatura
Lateral em aço inoxidável montado bóia oferecer desempenho e durabilidade confiável.Esta série de interruptor de aço inoxidável 304 é ideal para aplicações de resistência à corrosão ou de detecção de nível geral e vem com cabo.
Montagem de interruptor de bóia lado é rentável para aplicações de controle de nível em tanques pequenos, onde é mais fácil de instalar um interruptor de nível através da parede lateral do tanque.Quando o braço de bóia é elevada para o alojamento de interruptor, o interruptor é activado.Quando a bóia cai longe da carcaça, é desactivado.O movimento do flutuador traz o íman embutida em estreita proximidade com o interruptor de lâmina encapsulada, fazendo com que a accionar.A função do contato pode ser selecionada como normalmente aberto ou fechado.
Nosso produto pode reduzir os custos do sistema de fluidos e requisitos de montagem através da combinação de tecnologias de sensoriamento.Com a nossa experiência em engenharia de nível, temperatura e pressão, nós podemos projetar um sensor personalizado ou combinar sensores padrão para dar suas aplicações múltiplas características, minimizando intrusões tanque e custos.Interruptores de nível de flutuação mais padrão pode ser montado com um termopar, RTD.
- Início -> Produtos -> Chave de Nível Bóia Magnética : DL101
- Início -> Produtos -> Magnetrol Troca Nível : DL102
- Início -> Produtos -> Interruptor de flutuador mecânico : DL103
- Início -> Produtos -> Interruptor de flutuador magnético : DL104
- Início -> Produtos -> Bóia magnética : MS-10
- Início -> Produtos -> Switches Nível MAGNETROL : MLS-02
- Início -> Produtos -> Boias mecânicas : MLS-03
- Início -> Produtos -> Side Mounted Chave de Nível : DW-01 Explosion-Proof
- Início -> Produtos -> Side Mounted Mudar Float : DW-05
- Início -> Produtos -> Side Mounted Troca Nível Float : DW-06
- Início -> Produtos -> Interruptor de Lâmina Magnética : Side Mounting Float Switch
- Início -> Produtos -> Bóia de aço inoxidável : SF series
















