
Interruptor de flutuador mecânico

Especificações:
1.Comutação Volts:250 VAC
2.Corrente de comutação: 0,7~2A
3.Contato:NO/NC
4.Max.Pressão:30 kg/cm²SUS/5 kg/cm²PVC, PVDF, PP
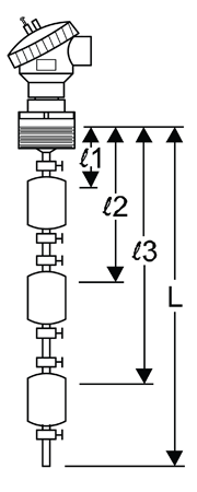
5.Max.Comprimento:3,000 milímetro
6.Faixa de temperatura:120°C SUS, PVDF/80°C PP, PVC
7..Material do Corpo:SUS304/SUS316
8.Conexão:Flange/Fio
Estamos classificou como um exportador notável e fornecedor de uma gama qualitativa de Troca Nível Float.Nossa linha de produtos também dispõe de Transmissor de Nível, Multiple-Troca Nível ponto para líquidos e transmissor de nível de água para o líquido.Fornecido em vários tamanhos, nosso produto tem um built muito defensável.
O princípio de funcionamento do interruptor de nível de flutuação magnética é direta e simples.Definir um ponto ou
Multi-ponto de interruptor magnético em selada un-metal magnético ou tubo de plástico industrial.Fixe o
flutuar com sistema magnético interno em um determinado lugar da chave magnética no tubo e deixar o
flutuar flutuar para cima e para baixo;utilizar o sistema magnético no interior do flutuador para desencadear a abertura e
perto do interruptor magnético de operar e controlar o nível de líquido.É princípio de funcionamento simples
tem sido provado aplica medição líquida sob diferentes condições de trabalho.É flexível
para produzir 1-6 pontos flutuantes conforme a demanda, por isso tem vantagem de custo em comparação com outros
tipos de chave de nível.Multi-Ponto de mudança de nível de flutuação é amplamente utilizado no controle de nível e alarme
de todos os tipos de indústria, como eletrônicos, energia elétrica, produtos químicos, tratamento de água, a água
abastecimento e drenagem, tingimento, máquinas etc
- Início -> Produtos -> Chave de Nível Bóia Magnética : DL101
- Início -> Produtos -> Magnetrol Troca Nível : DL102
- Início -> Produtos -> Interruptor de flutuador mecânico : DL103
- Início -> Produtos -> Interruptor de flutuador magnético : DL104
- Início -> Produtos -> Bóia magnética : MS-10
- Início -> Produtos -> Switches Nível MAGNETROL : MLS-02
- Início -> Produtos -> Boias mecânicas : MLS-03
- Início -> Produtos -> Side Mounted Chave de Nível : DW-01 Explosion-Proof
- Início -> Produtos -> Side Mounted Mudar Float : DW-05
- Início -> Produtos -> Side Mounted Troca Nível Float : DW-06
- Início -> Produtos -> Interruptor de Lâmina Magnética : Side Mounting Float Switch
- Início -> Produtos -> Bóia de aço inoxidável : SF series
















