
สวิทช์ลอยเครื่องกล

ข้อมูลจำเพาะ:
1โวลต์ Switching:250 VAC
2สลับเปลี่ยน: 0.7~2A
3ติดต่อ:NO/อร์ทแคโรไลนา
4แม็กซ์.ความดัน:30 กิโลกรัม/cm²สแตนเลส/5 กิโลกรัม/cm²PVC, PVDF, PP
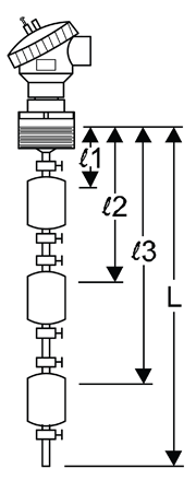
5แม็กซ์.ระยะเวลา:3000mm
6ขอบเขตอุณหภูมิ:120°C สแตนเลส, PVDF/80°C PP, PVC
7.วัสดุของตัวเครื่อง:SUS304/SUS316
8สัมพันธ์:หน้าแปลน/ด้าย
เรามีการจัดอันดับให้เป็นผู้ส่งออกที่สำคัญและผู้จัดจำหน่ายของอาเรย์ที่มีคุณภาพสวิทช์ระดับลอย.ช่วงที่ผลิตภัณฑ์ของเรายังประกอบด้วยเครื่องส่งสัญญาณระดับหลาย-สวิทช์ระดับจุดสำหรับของเหลวและเครื่องส่งสัญญาณระดับน้ำสำหรับของเหลว.บรรจุในหลายขนาด, ผลิตภัณฑ์ของเรามีในตัวปรองดองกันได้มาก
หลักการทำงานของสวิทช์ระดับลอยแม่เหล็กโดยตรงและเรียบง่าย.ตั้งหนึ่งจุดหรือ
มีหลาย-จุดของสวิตช์แม่เหล็กปิดผนึกยกเลิก-โลหะแม่เหล็กหรือหลอดพลาสติกอุตสาหกรรม.แก้ไข
ลอยกับระบบแม่เหล็กด้านในสถานที่หนึ่งของสวิทช์แม่เหล็กในท่อและปล่อยให้
ลอยลอยขึ้นและลง;ใช้ระบบแม่เหล็กในชั้นลอยเพื่อเรียกเปิดและ
ปิดสวิทช์แม่เหล็กในการดำเนินงานและการควบคุมระดับของเหลว.มันเป็นหลักการทำงานง่ายๆ
ได้รับการพิสูจน์เพื่อนำไปใช้ในการวัดของเหลวภายใต้สภาพการทำงานต่างๆ.มีความยืดหยุ่น
ในการผลิต 1-6 จุดลอยเป็นความต้องการต่อดังนั้นมันจึงมีความได้เปรียบค่าใช้จ่ายเมื่อเปรียบเทียบกับคนอื่น ๆ
ชนิดของการเปลี่ยนระดับ.มีหลาย-จุดสวิทช์ระดับลอยถูกนำมาใช้กันอย่างแพร่หลายในการควบคุมและระดับการเตือนภัย
ทุกชนิดของอุตสาหกรรมเช่นอิเล็กทรอนิกส์พลังงานไฟฟ้าเคมีบำบัดน้ำเสียน้ำ
อุปทานและการระบายน้ำย้อมสีเครื่องจักร ฯลฯ
- บ้าน -> ผลิตภัณฑ์ -> โฟสวิทช์แม่เหล็กระดับ : DL101
- บ้าน -> ผลิตภัณฑ์ -> สวิทช์ระดับ Magnetrol : DL102
- บ้าน -> ผลิตภัณฑ์ -> สวิทช์ลอยเครื่องกล : DL103
- บ้าน -> ผลิตภัณฑ์ -> สวิทช์ลอยแม่เหล็ก : DL104
- บ้าน -> ผลิตภัณฑ์ -> สวิทช์ลอยแม่เหล็ก : MS-10
- บ้าน -> ผลิตภัณฑ์ -> สวิทช์ระดับ Magnetrol : MLS-02
- บ้าน -> ผลิตภัณฑ์ -> สวิทช์ลอยเครื่องกล : MLS-03
- บ้าน -> ผลิตภัณฑ์ -> ด้านข้างติดตั้งสวิทช์ระดับ : DW-01 Explosion-Proof
- บ้าน -> ผลิตภัณฑ์ -> ด้านข้างติดตั้งสวิทช์ลอย : DW-05
- บ้าน -> ผลิตภัณฑ์ -> ด้านข้างติดตั้งสวิทช์ระดับลอย : DW-06
- บ้าน -> ผลิตภัณฑ์ -> เปลี่ยนกกแม่เหล็ก : Side Mounting Float Switch
- บ้าน -> ผลิตภัณฑ์ -> สแตนเลสสตีลบอลลอย : SF series
















