
Interruptor de flotador mecánico

Especificaciones:
1.Voltios de conmutación:250 VAC
2.Corriente de conmutación: 0.7~2A
3.Contacto:NO/NC
4.Max.Presión:30 kg/cm²SUS/5 kg/cm²PVC, PVDF, PP
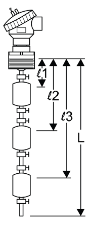
5.Max.Longitud:3000mm
6.Rango de temperatura:120°C SUS, PVDF/80°C PP, PVC
7..Material del cuerpo:SUS304/SUS316
8.Conexión:Brida/Hilo
Nos están clasificados como exportador notable y proveedor de una gama cualitativa de Interruptor de nivel de flotador.Nuestra gama de productos también se compone de transmisor de nivel, Multiple-Punto Interruptor de nivel de líquidos y transmisor de nivel de agua para el líquido.Se suministra en varios tamaños, nuestro producto tiene incorporado un muy defendible.
El principio de funcionamiento del interruptor magnético de nivel de flotador es directa y simple.Establezca un punto o
Multi-punto de interruptor magnético cerrado sin-metal magnético o tubo de plástico industrial.Fijar el
flotar con sistema magnético interno en un lugar determinado del interruptor magnético en el tubo y dejar que el
flotar flotar hacia arriba y hacia abajo;utilizar el sistema magnético interno en el flotador para desencadenar la abierta y
cerca del interruptor magnético para operar y controlar el nivel del líquido.Es principio de funcionamiento sencillo
se ha demostrado para aplicar en la medición de líquido bajo diversas condiciones de trabajo.Es flexible
para producir 1-6 puntos flotantes como por la demanda, por lo que tiene ventaja de costes en comparación con otros
tipos de interruptor de nivel.Multi-interruptor de nivel de flotador punto es ampliamente utilizado en el control de nivel y alarma
de todo tipo de industria, tales como electrónica, energía eléctrica, química, tratamiento de agua, el agua
suministro y drenaje, teñido, maquinaria, etc
- Inicio -> Productos -> Interruptor magnético de nivel de flotador : DL101
- Inicio -> Productos -> Interruptor de nivel de Magnetrol : DL102
- Inicio -> Productos -> Interruptor de flotador mecánico : DL103
- Inicio -> Productos -> Interruptor de flotador magnético : DL104
- Inicio -> Productos -> Interruptores de flotador magnéticos : MS-10
- Inicio -> Productos -> Interruptores de Nivel Magnetrol : MLS-02
- Inicio -> Productos -> Interruptores de flotador mecánicos : MLS-03
- Inicio -> Productos -> Montaje lateral Interruptor de nivel : DW-01 Explosion-Proof
- Inicio -> Productos -> Montaje lateral Interruptor de flotador : DW-05
- Inicio -> Productos -> Montaje lateral Interruptor de nivel de flotador : DW-06
- Inicio -> Productos -> Interruptor de láminas magnético : Side Mounting Float Switch
- Inicio -> Productos -> Flotador de acero inoxidable : SF series
















