DiWi Enterprise Co.,Ltd especializa-se na fabricação, fornecendo e exportando a Mini Switches Nível Float, com uma fábrica em Taiwan.Foi sempre nosso foco para manufaturar a produtos qualidade superior e para entregá-los como por a programação.Nosso espírito inovativo permite-nos de ir antes de nossos concorrentes equipados com as facilidades de teste as mais avançadas da produtos.Os inquéritos dos atacadistas, dos distribuidores, dos compradores, dos agentes e da produtos globais OEM/ODM da são dados boas-vindas.

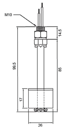
Mini Switches Nível Float

1.Switching Power:50W
2.Comutação Vlots:220VAC/24VDC
3.Corrente de comutação:0.5Amp
4.Max.Pressão:ATM kg/cm²
5.Flutuar S.G: 0,6 g/cm³
6.Faixa de temperatura:-10~85°C
7.Flutuar Tamanho: ø26 x 17 mm
8.Material:PP
9.Rosca de conexão:M10
10.Vertical montado
Nossa indústria de renome está oferecendo uma elevada qualidade de Troca Nível Float aos nossos valiosos clientes com taxas adequadas de mercado.E feita a partir de uma excelente qualidade de materiais.
Um interruptor de bóia é um dispositivo utilizado para detectar o nível de líquido dentro de um tanque.O interruptor pode accionar uma bomba, um indicador, um alarme, ou outro dispositivo.
O sensor de nível de água é feita de material plástico, dois cabos individuais minúsculos.Um interruptor de bóia é um dispositivo utilizado para detectar o nível de líquido dentro de um tanque.Usá-los com hidroponia, aquário de água salgada, água doce, jardinagem, aquários para o controle da cabeça de energia, tigelas de estimação, tanques de peixes, filtragem, aquecimento, ou qualquer que seja seu projeto pode ser.Ela pode ser facilmente convertida a partir de normalmente aberto ou normalmente fechado invertendo o flutuador.Nota:porque a corrente que a chave pode realizar é muito pouco (0.5A), você deve usar um relé ou contator quando ele está conectado por uma carga, relé do contator e não estão incluídos aqui.Rosca:M10.Flutuar Diâmetro:26 milímetros.Corpo Comprimento Total:100 milímetros.Comprimento do Cabo:300 milímetros.
Inquérito agora +Inquérito agora -
Produtos Lista
- Início -> Produtos -> Interruptor de bóia cabo : FS Series
- Início -> Produtos -> Cabo Float Troca Nível : DF Series
- Início -> Produtos -> Interruptor de flutuador do aço inoxidável : D-HYZ-47
- Início -> Produtos -> Bóia de aço inoxidável : D-HYZS-47
- Início -> Produtos -> Mini interruptor de nível Float : D-HYZT-47
- Início -> Produtos -> Mini Switches Nível Float : D-LS-85
- Início -> Produtos -> Flutuar Chave de Nível : D-YZ-5
- Início -> Produtos -> Flutuar Nível Switches : D-S1A28
- Início -> Produtos -> Interruptor de bóia Nível Tipo : D-S2A28
- Início -> Produtos -> Flutuar Switches tipo de nível : D-YZP-38
- Início -> Produtos -> Troca Nível flutuante : D-YZP-86
- Início -> Produtos -> Pequeno interruptor Float : D-YZP-95
- Início -> Produtos -> Válvula de esfera do flutuador : PFV-100
- Início -> Produtos -> Válvula de bóia de plástico : PFV-200
- Início -> Produtos -> Válvula de bóia mecânica : Mechanical Float Valve
- Início -> Produtos -> Válvula de bóia de água : DFV-06S
- Início -> Produtos -> Nível de água válvula de bóia : DFV-06L
Nossa perícia tiver permitir-nos de assegurar a
















